中国各省-政府工作报告文本数据(2002-2025年)

高级会员
| 来源:政府工作报告

省级政府工作报告是各省级行政区域政府在年度人民代表大会上所作的重要报告,内容涵盖上一年度的工作回顾、经济社会发展情况及本年度的目标任务和重点工作部署。通常涉及经济增长、民生改善、基础设施建设、社会治理等方面,是了解地方政策方向、经济形势和发展规划的重要依据

马克团队整理了中央、31个省份2002-2025年的政府工作报告,将原始文本保存为txt格式,同时也整理了csv格式的面板数据,便于研究人员使用

相关数据:中央、省、市级政府工作报告

一、数据介绍

数据名称:中国各省-政府工作报告文本数据

数据范围:中央、31个省份

数据年份:2002-2025年

数据来源:地方政府网

数据格式:包括txt文件、文本面板数据

数据整理:马克数据网

更新时间:2025年3月

二、整理说明

➤从地方政府网爬取工作报告,保存txt版

➤将报告文本整理为一张表格,保存csv版

➤去除停顿词,利用python的jieba库进行精确模式和全模式分词,统计词频和

(精确:'推荐', '马克', '数据网')

(全:'推荐', '马克', '克数', '数据', '数据网')

➤保留中英文、数字,统计全文文本总长度

➤保存原始文本、文本长度、词频总数

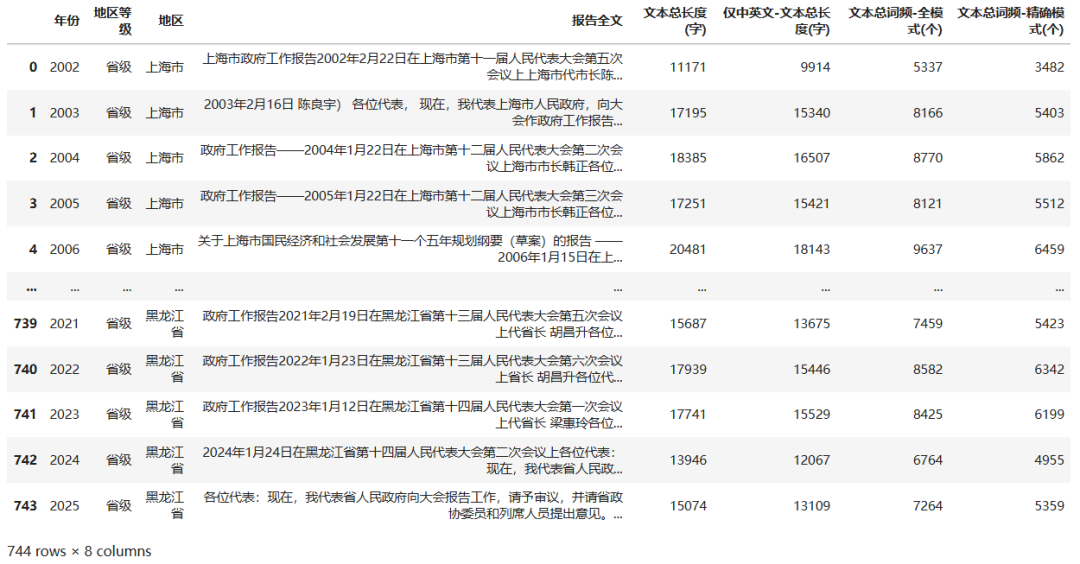
三、指标说明

一共8个指标,如下

年份地区等级地区
报告全文文本总长度(字)仅中英文-文本总长度(字)
文本总词频-全模式(个)文本总词频-精确模式(个)

四、数据概览

平衡面板-各年数量统计

中国各省-政府工作报告文本数据

原始报告txt文本

中国各省-政府工作报告文本数据

省级政府工作报告文本

中国各省-政府工作报告文本数据

五、获取数据

注:该数据为高级会员-附赠数据,可在底部自取数据

全部下载
该数据需要高级会员以上的权限, 请先登录您的账号: 点击登录